
福岡市とその周辺地域の災害ハザードマップ
はじめに
福岡市とその周辺地域では、自然災害に対する備えが重要です。災害ハザードマップは、地域がどのような災害リスクにさらされているかを示す重要なツールです。これにより、住民は適切な対策を講じることができます。
災害ハザードマップとは
災害ハザードマップは、地震、洪水、土砂災害、津波など、様々な災害のリスクを可視化した地図です。これにより、住民は自分の住んでいる地域のリスクを理解し、避難経路や避難所の位置を把握することができます。

参考サイトURL:福岡市災害ハザードマップ(https://webmap.city.fukuoka.lg.jp/bousai)
福岡市の主なリスク
- 地震: 福岡市は、断層帯が近くにあるため、地震のリスクがあります。
- 洪水: 特に梅雨時や台風シーズンにおいて、河川が氾濫する可能性があります。
- 土砂災害: 山間部では、大雨による土砂崩れのリスクがあります。

具体的なハザードマップの活用
福岡市では、公式ウェブサイトから災害ハザードマップをダウンロード、または閲覧することができます。
地域ごとのリスク情報や避難所の場所を簡単に確認することができるため、是非活用してください。
災害時にはお住いの地域の災害リスクにを予測して、準備することが重要です。
・災害時ごとの避難経路 ・防災グッズの準備 ・近くの避難所の下調べなど できることは以外と多くあります。

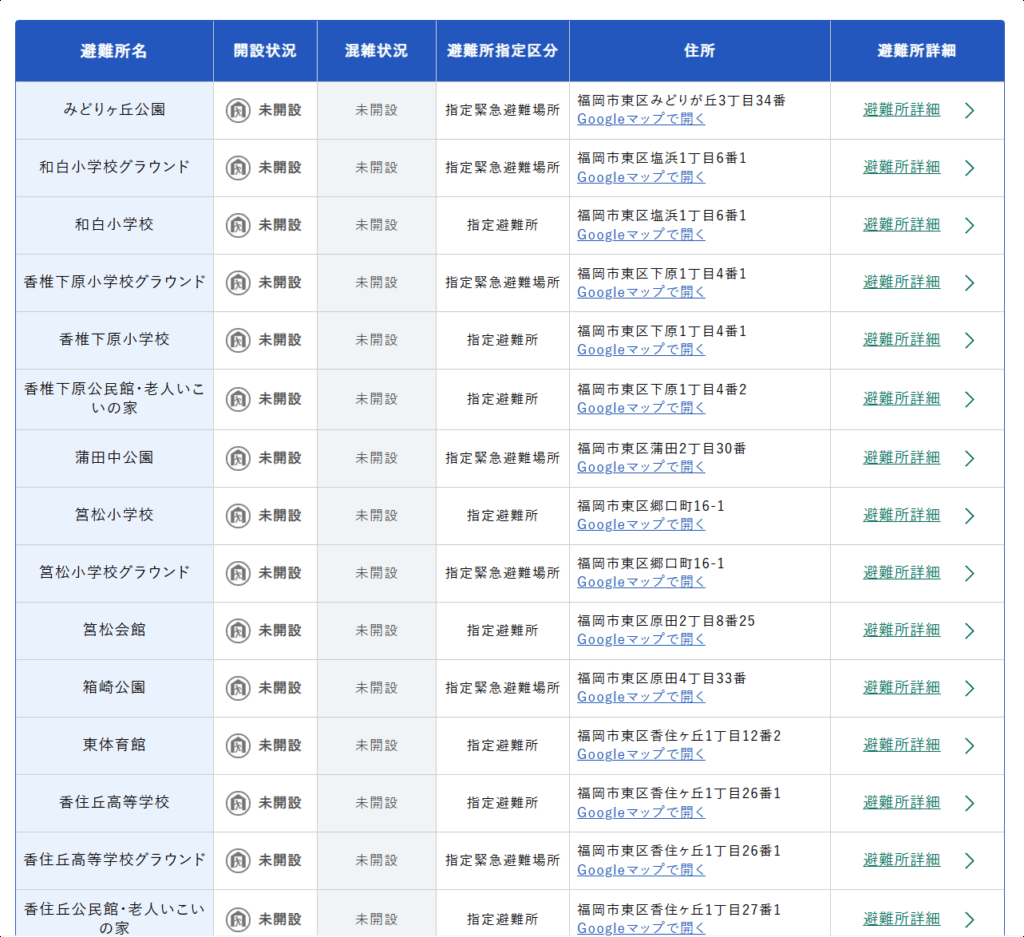
避難所マップ


避難所マップ:参考サイト 福岡市防災ホームページ (https://www.bousai.pref.fukuoka.jp/shelter/fukuoka-shi-higashi-ku/)
まとめ
福岡市とその周辺地域において、災害ハザードマップは、災害から身を守るための重要な情報源です。定期的に確認し、必要な対策を講じることが大切です。地域の安全を守るために、積極的に情報収集を行いましょう。

